99r在线播放I91免费观看视频网站I成人黄色短片I在线成人小视频Iav电影免费在线播放I在线观看免费91I麻豆久久一区二区I99九九视频

您好! 歡迎來到上海滬工起重機械有限公司!

熱門搜索:

鋼絲繩電動葫蘆

首頁 > 產品中心 > 鋼絲繩電動葫蘆
水閘用雙吊點電動葫蘆
水閘用雙吊點電動葫蘆

產品介紹

      雙出繩|雙吊點電動葫蘆詳細介紹

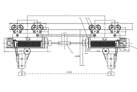
      雙吊點電動葫蘆又稱:雙鉤電動葫蘆、同升同降電動葫蘆、同步連軸電動葫蘆、連體雙鉤電動葫蘆、同筒雙鉤電動葫蘆、雙鉤同步鋼絲繩電動葫蘆、雙鉤同步電動葫蘆、閘門電動葫蘆等。同軸雙鉤雙速電動葫蘆,就是用傳動軸相連接的兩個葫蘆為雙速鋼絲繩電動葫蘆。

      雙吊點電動葫蘆詳細說明:

      雙吊點電動葫蘆適用于吊運超長工件或物品。鉤距可根據用戶要求進行非標設計制作。采用中間傳動軸連接兩上葫蘆,來實現同升同降。便鋼絲繩電動葫蘆在提升和下降時,繩子會沿著卷筒上的繩槽纏上或放下,雙鉤也就在上升和上降的同時,會同時向-側平移。所吊物體距離葫蘆安裝位置的垂直高度越大,平移的幅度越小。例如:所吊物體在地面上,葫蘆安裝在地面上方12米高度的位置。吊鉤提升到高極限時,距離地面11米。用起升高度為12米的葫蘆,來吊地面上的物體,提到6米高位置,水平移動幅度是很小的。也就是葫蘆的安裝位置-定要高于所吊物體提升的目標位置的上方幾米的距離處,這個距離越大,水平移動幅度就越小。

      該設備通過機械與電氣同步,強制起升電機轉速同步,兩臺電動葫蘆采用一套電氣控制系統, 克服了電氣動作誤差,從而保證兩臺電動葫蘆同時升降起吊重物。設備組合方便,還可增加超載限制、高度顯示及遙控等輔助功能。

      同軸雙鉤雙速電動葫蘆:

      就是用傳動軸相連接的兩個葫蘆為雙速鋼絲繩電動葫蘆。適用于吊運超長工件或物品。鉤距可根據用戶要求進行非標設計制作。雙鉤鋼絲繩電動葫蘆為定做產品,如需洽談具體參數請致電敝公司。

      起重量: 2*10T、 2*16T、 2*32T起升高度: H=6M-24M鉤距: 1.2M≤L≤7M

      采用中間傳動軸連接兩上葫蘆,來實現同升同降。便鋼絲繩電動葫蘆在提升和下降時,繩子會沿著卷筒上的繩槽纏上或放下,雙鉤也就在上升和上降的同時,會同時向-側平移。所吊物體距離葫蘆安裝位置的垂直高度越大,平移的幅度越小。例如:所吊物體在地面上,葫蘆安裝在地面上方12米高度的位置。吊鉤提升到高極限時,距離地面11米。用起升高度為12米的葫蘆,來吊地面上的物體,提到6米高位置,水平移動幅度是很小的。也就是葫蘆的安裝位置-定要高于所吊物體提升的目標位置的上方幾米的距離處,這個距離越大,水平移動幅度就越小。

 

下一個:船用電動葫蘆
銷售咨詢:021- 61473468 021-61474468 手 機:   手機:15921513569

傳真:021-33250445 E-mail:2638202261@qq.com 地址:上海市隆昌路40弄8號  備案號:滬ICP備15007928號-3
?

在線咨詢

在線咨詢真誠為您提供專業解答服務

咨詢熱線

5*8小時服務熱線 400-966-5869

24小時服務熱線 15921513569

13651773046

?

微信咨詢

二維碼掃一掃添加微信
返回頂部