99r在线播放I91免费观看视频网站I成人黄色短片I在线成人小视频Iav电影免费在线播放I在线观看免费91I麻豆久久一区二区I99九九视频

您好! 歡迎來到上海滬工起重機械有限公司!

熱門搜索:

手扳葫蘆

首頁 > 產品中心 > 手扳葫蘆
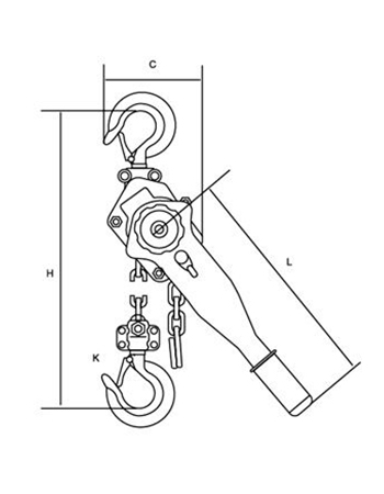
HSH環鏈手扳葫蘆
HSH環鏈手扳葫蘆

產品介紹

HSH型手扳葫蘆系列主要有(0.75T-6T)0.75T、3T、 6T等噸位。它具有設計合理結構先進,機體強度高使用安全可靠維護方便。廣泛地應用于電力、礦山、造船、建筑、運輸、郵電等部門的設備安裝、物品起吊、機件牽引、散件捆綁、線路拉緊及焊接對位等場合,尤其在狹小的工作場所、野外高空作業和各種不同角度的牽拉更顯其優越性。
 
HSH型手扳葫蘆是通過人力扳動手柄作業的,能夠完成重物吊運以及設備安裝等工作,除了可以單獨使用外,還能夠配合單軌小車等其它的起重產品使用。該手扳葫蘆不但結構設計合理,產品性能強度高,而且在使用上有安全可靠,易維護以及耐用性強等優勢。
 
HSH環鏈手扳葫蘆優點:
 
具有獨特的彈性離合技術,大大的提高了產品在高度上的使用要求,可以在任意的高度上吊運重物。手拉裝置靈敏度更高,可以輕松的扳動手柄完成作業。吊鉤采用鍛打的方式制造,尤其是吊鉤的尖端位置,具有非常強的韌性,即使受到猛烈的撞擊,也只是緩慢彎曲而已。1.安全可靠,經久耐用。2.性能好,維修簡便。
 
3.體積小,重量輕,攜帶方便。4.手扳力小,效率高。5.結構先進,外形美觀。

 

銷售咨詢:021- 61473468 021-61474468 手 機:   手機:15921513569

傳真:021-33250445 E-mail:2638202261@qq.com 地址:上海市隆昌路40弄8號  備案號:滬ICP備15007928號-3
?

在線咨詢

在線咨詢真誠為您提供專業解答服務

咨詢熱線

5*8小時服務熱線 400-966-5869

24小時服務熱線 15921513569

13651773046

?

微信咨詢

二維碼掃一掃添加微信
返回頂部